Bygge om til oljekjøling 6-trinns gearkasse?

Anbefalte innlegg

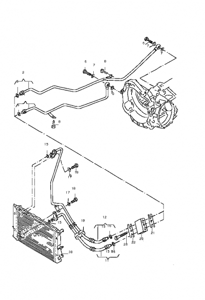
Er det mulig å bruke tilhørende oljepumpe fra Audi A6/S6/Avant quattro, - 1995 fra girkassa med delenr 01E315105, over på ei CBL kasse ved ombygging til ekstern oljekjøler?: klø :

Dette sitter visst originalt på A6 4,2 quattro..

 

Legger ved noen bilder..

035730.png

317100.png

Del dette innlegget


Lenke til innlegg
Del på andre sider

Ja dette hadde vært interessant! BUMP!

Del dette innlegget


Lenke til innlegg
Del på andre sider

vil tro dette er bolt on. kassene er jo identiske utvendig. er vel bare blenda der på kasser uten oljekjøling?

Del dette innlegget


Lenke til innlegg
Del på andre sider

vil tro dette er bolt on. kassene er jo identiske utvendig. er vel bare blenda der på kasser uten oljekjøling?

 

Ikke vet jeg,vil tro det er flere som vet noe om dette??

Del dette innlegget


Lenke til innlegg
Del på andre sider

Er det noen som tidligere har gjort det på sin 6-trinns kasse?

Del dette innlegget


Lenke til innlegg
Del på andre sider

Noen som vet noe her? :P

Del dette innlegget


Lenke til innlegg
Del på andre sider

Uttakene finnes på alle 6-trinnskassene, så skulle tro at det holder å sette inn pumpe og koble til noe der. Dobbeltsjekk at det finnes noe til å drive oljepumpen bak der for sikkerhets skyld.. ;)

Del dette innlegget


Lenke til innlegg
Del på andre sider



VACN 2018- Powered by Invision Community

Bli medlem
×

Viktig informasjon

Vi har plassert informasjonskapsler/cookies på din enhet for å kunne vise siden slik vi har utviklet den.
Godtar du ikke dette, må du avslutte bruken og forlate vårt nettsted, ellers vil VACN anta du aksepterer dette.