#1 Skrevet Desember 18, 2012 Hei. Er på jakt etter ny fremre eksos til min Audi A3 3.2 da den lekker. Har funnet en brukt del fra tyskland. Men klarer ikke å finne ut om den passer på min bil. Delenr jeg får hos møller er 1K0254502KX, mens delenr på delen jeg har funnet er 1K0254502KV. Begge delene ser like ut og har samme størrelse/vekt. Kan noen finne ut om dette er samme delen? 0 Del dette innlegget Lenke til innlegg Del på andre sider Flere delingsalternativer...
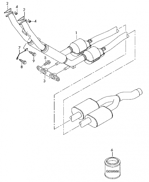
#2 Skrevet Desember 18, 2012 Får ikke opp KV i Etka. Bare KX. Kan være overgang til nyere del. Del nr 1 på bildet er KX som jeg får opp ihvertfall Fant den på ebay også: LINK 0 Del dette innlegget Lenke til innlegg Del på andre sider Flere delingsalternativer...
#3 Skrevet Desember 18, 2012 Vanligvis så betyr x bak et delenr byttedel i de fleste tilfellene .Så det er nok samme del du har funnet 0 Del dette innlegget Lenke til innlegg Del på andre sider Flere delingsalternativer...
#4 Skrevet Desember 19, 2012 Takker for svar. Da satser jeg på at det er rett del Møller Bil skulle forresten ha 16.000 for denne delen!! 0 Del dette innlegget Lenke til innlegg Del på andre sider Flere delingsalternativer...
#5 Skrevet Desember 19, 2012 Hva med noe sånt http://www.supersprint.com/en/prod-266-6804-audi_a3_8p_quattro_32i_vr6_250_hp__04_E28093E280BA.aspx 0 Del dette innlegget Lenke til innlegg Del på andre sider Flere delingsalternativer...
#6 Skrevet Desember 19, 2012 hehe ja så på det. Men sjekk prisen!! Får denne delen brukt for 5000kr. Da fra en bil som kun har gått 2400km 0 Del dette innlegget Lenke til innlegg Del på andre sider Flere delingsalternativer...