Giroverføring 6 trinns manuel

Anbefalte innlegg

Hei

 

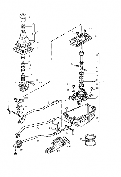
Jeg bygger om Allroaden min til 6 trinns manuell nå, men for ikke giroverføringen til og stemme helt.

Nr 38 på dette bilde er alt for stor i forhold til den akslingen som går inn i girkassen, jeg lurer kanskje på om det skal sitte en plastikkhylse inni den delen?

Men finner ingen delenummer,eller bilde av det. Så regner med att da er dette en hel del, og jeg har mistet den biten.

 

Eller kan det være feil overføring i forhold til girkasse?

711250.png

Del dette innlegget


Lenke til innlegg
Del på andre sider

Fikk svar på US forum, så viste seg att det var denne som manglet.

Missing_Wedge_In_Linkage.jpg

wedge.JPG

 

Så lagde en selv, giringen vart perfekt :)

Del dette innlegget


Lenke til innlegg
Del på andre sider

Hva med å lage en liten how-to på ombyggingsjobben?

Del dette innlegget


Lenke til innlegg
Del på andre sider

Hva med å lage en liten how-to på ombyggingsjobben?

 

Skal gjøre det når jeg er ferdig med alt :)

Har flashet om motorstyreenheten i kveld, men fikk litt motgang. Har ikke gjort det på Audi før, så litt spendt på hvordan det går.

Del dette innlegget


Lenke til innlegg
Del på andre sider

Park / Nøytral rele på min bil? Hvor sitter det? Stemmer ikke med det jeg har fått i fra USA

Del dette innlegget


Lenke til innlegg
Del på andre sider

Fant releet.

 

Er det noen som kan fortelle meg hvordan jeg justerer giroverføringen? Fant ikke revers

Del dette innlegget


Lenke til innlegg
Del på andre sider



VACN 2018- Powered by Invision Community

Bli medlem
×

Viktig informasjon

Vi har plassert informasjonskapsler/cookies på din enhet for å kunne vise siden slik vi har utviklet den.
Godtar du ikke dette, må du avslutte bruken og forlate vårt nettsted, ellers vil VACN anta du aksepterer dette.