#1 Skrevet Mars 18, 2006 Hvor kan man enklest hente vakum eller hvor ligger det vakum som man skal bruk til dump på en 2000 A4 1.8 TQ? Jeg fikk høre at orginal dumpen hadde vakum den også, men det har den jo ikke, jeg finner det hvertfall ikke. 0 Del dette innlegget Lenke til innlegg Del på andre sider Flere delingsalternativer...
#2 Skrevet Mars 18, 2006 Den tynne slangen på originalventilen. Vær forresten klar over at åpen (atmosfærisk) dumpventil IKKE bør brukes på disse motorene, det blir bare krøll og tull. Et raskt søk, så kan du lese massevis om det. 0 Del dette innlegget Lenke til innlegg Del på andre sider Flere delingsalternativer...
#3 Skrevet Mars 18, 2006 Er foresten Alexander Bjerke Hansen, men betaling av årskontigenten har tydeligsvis ikke gått igjenom ennå. Har ikke så mye peil på dump, men det er da ingen vakum slange kobla til den orginal resirkulerbare dumpen? Jeg har kjøpt meg en Turbosmart Dualport dump som er re-sirk på den ene siden og åpen på den andre.. 0 Del dette innlegget Lenke til innlegg Del på andre sider Flere delingsalternativer...
#4 Skrevet Mars 18, 2006 Originalventilen har tre tilkoblinger, to store og en liten. Den lille tilkoblingen med den tynne slangen er vakuumslangen. Om det ikke er noe tilkoblet her har den falt av, så da må du ta en leteaksjon og se hvordan det ligger an. Skal du koble inn den ventilen får du stille den på 100% resirkulering.. 0 Del dette innlegget Lenke til innlegg Del på andre sider Flere delingsalternativer...
#5 Skrevet Mars 18, 2006 Jeg kan vedde hele bilen min og alt jeg eier på at det bare er 2 19 mm åpninger på den ventilen. Har hatt den ute og stått med den hånda.. Men det er jo kobla til to slanger på røret til luftfilteret mellom dumpen og turboen, men de har kanskje ikke noe med dette å gjøre.. 0 Del dette innlegget Lenke til innlegg Del på andre sider Flere delingsalternativer...
#6 Skrevet Mars 18, 2006 Jeg kan vedde hele bilen min og alt jeg eier på at det bare er 2 19 mm åpninger på den ventilen. Har hatt den ute og stått med den hånda.. Men det er jo kobla til to slanger på røret til luftfilteret mellom dumpen og turboen, men de har kanskje ikke noe med dette å gjøre.. Da har du stått med noe annet i hånda enn dumpen.. Den orginale dumpen sitter under rett etter turbo på en slange som går ut fra et T-skjøt rett etter turbo.. Hvis du står foran motoren din, og ser på innsuget så ser du en liten slange som går ut nermest deg på venstre side av innsuget.. Følg denne, og du er sikker på at du finner den rette... 0 Del dette innlegget Lenke til innlegg Del på andre sider Flere delingsalternativer...
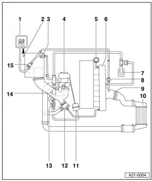
#7 Skrevet Mars 18, 2006 nr 12.... 0 Del dette innlegget Lenke til innlegg Del på andre sider Flere delingsalternativer...
#8 Skrevet Mars 18, 2006 der kan du hente vakum, der den originale går ifra, så da er det bare å følge den såfinner du resirken også 0 Del dette innlegget Lenke til innlegg Del på andre sider Flere delingsalternativer...
#9 Skrevet Mars 18, 2006 Takktakk for all hjelp! Har ikke sovet i natt. Tar en tur ned på verkstedet nå, men den ledningen du viser til på bildet går ikke til dumpen, den går til slangen til luftfilteret der det sitter noen ledninger. Mulig jeg kan sette på et t-stykke på denne å koble den opp på dumpen eller bare plombe denne på luftfilter slangen å sett den på dumpen. Drar ned å banner litt til nå.. 0 Del dette innlegget Lenke til innlegg Del på andre sider Flere delingsalternativer...
#10 Skrevet Mars 18, 2006 det er fordi den på bilde er en eldre modell enn din. er litt annerledes på den. men det skal være en liten vakum slange inn på den orginale dumpventilen. jeg kjører forresten med åpen ventil og har ingen problemer med den. 0 Del dette innlegget Lenke til innlegg Del på andre sider Flere delingsalternativer...
#11 Skrevet Mars 18, 2006 Jeg må innrømme at jeg her har driti meg lodd rett ut! Men for å beskytte meg selv, kunne også et norgeskjent VAG tuning firma fortelle meg at denne delen var dumpen. Men dette er vist en annen ventil som er prikk lik dumpen denne jeg har fabal om. Fikk bilen opp på bukk hvertfall og fikk bytta dumpen på under siden. Måtte kappe fjær 5 cm, for å få dumpen til å klare å løse ut (sikkert en jalla løsning), men jeg får ikke tak i noe nye på lørdags etter middag og dumpen skulle på om den ville eller ei. Vidre kan jeg si at bilen ikke går på tomgang, noe jeg ikke skjønner noe av da jeg har en kompis med identisk bil, med åpen ventil som går helt fint.Som jeg nevnte oppi her har jeg jo kjøpt Turbosmart Dualport som er re-sirk og åpen på en gang. Eller som kan bygges om til bare re-srik eller bare åpen på 1 minutt. Skal prøve å bygge den om til bare åpen i morra.. 0 Del dette innlegget Lenke til innlegg Del på andre sider Flere delingsalternativer...
#12 Skrevet Mars 18, 2006 At den ikke går på tomgang skyldes at den trekker luft gjennom den åpne delen fordi fjæren ikke holder den lukket. Her vil også turbotrykk lekke ut. Åpen dump er og blir noe dritt på disse motorene.. 0 Del dette innlegget Lenke til innlegg Del på andre sider Flere delingsalternativer...
#13 Skrevet Mars 19, 2006 Hehe men jeg vil vil vil!! Jaja får se om jeg plukker av hele driten i mårra eller hva det blir til;) 0 Del dette innlegget Lenke til innlegg Del på andre sider Flere delingsalternativer...
#14 Skrevet Mars 19, 2006 Hehe men jeg vil vil vil!! Jaja får se om jeg plukker av hele driten i mårra eller hva det blir til;) Du vil fort finne ut at "åpen dump" er noe dritt på disse motorene. Monterte en åpen Turbo XS dumpventil på min bil. dårlige greier, litt tøff lyd er det jo, men du blir FORT lei + at bilen går MYE dårligre og bensinforbruket går opp. Skal du ha litt lyd, så kjør med åpent filter, nok i massevis. Dessuten MYE tøffere lyd. (men det er jo smak & behag) Skal du skifte ventilen, så kjøp en FORGE resirk. ventil, beregnet for VAG. (f.eks fra TS-Racing) Dette er ikke noe "oppskrift" om hvordan dette bør/skal gjøres, men en anbefaling fra en som allerede har "brent seg" med kjøp/montering av åpen "dump" ventil. Lykke til! Mvh Preben 0 Del dette innlegget Lenke til innlegg Del på andre sider Flere delingsalternativer...
#15 Skrevet Mars 19, 2006 Takk for all feedback:) Alle har jo sagt at jeg ikke bør gjøre dette, men jeg er sånn at jeg må finne ut om det ikke går før jeg gir meg 0 Del dette innlegget Lenke til innlegg Del på andre sider Flere delingsalternativer...
#16 Skrevet Mars 19, 2006 Endelig fått opp min egen bruker :D Legger ved et bilde av synder-delen om noen lurer, å slik at andre nybegynnere ikke går på samme smellen.. Sa at bilen ikke ville gå på tomgang litt tidligre her, det er kanksje litt feil å si, men om jeg bruker gass pedalen å "jobber" ned turtallet går motoren fint på tomgang. Om jeg så slipper gassenpedalen rett ut i fri så kveler motoren seg.. 0 Del dette innlegget Lenke til innlegg Del på andre sider Flere delingsalternativer...
#17 Skrevet Juli 30, 2007 Hehe, gjorde samme feilen i dag.. Oljedamp-rebreather sak det der om jeg ikke har skjønt det helt feil... På min A4 2001 (8E) virker det som dumpen er plassert helt i bakkant av motoren, kan dette stemme? Edit: Fant resirken der den skal være, på undersida av trykkslangen i forkant av turbo. Det jeg skreiv om er nok termostaten, som av en eller annen grunn også tydeligvis skal ha trykk/vakum... 0 Del dette innlegget Lenke til innlegg Del på andre sider Flere delingsalternativer...