#1 Skrevet Juni 25, 2007 Hei! Bil: 1992 Audi S4 C4 2.2 turbo Prøvde nettopp å starte bilen min. Den prøver og prøver, men vil ikke starte. Hører høye klikkelyder fra startmotor vil jeg tro når jeg holder den en stund på nøkkelen. Har vært litt seig på start før til tider at man må holde på nøkkelen en stund (2 sek bare kanskje). Har også hørt noen klukkelyder fra reléer noen ganger (senest i dag da jeg satte meg inn i bilen etter jobb) og skulle hjem. Kommer fra under dashbordet ved sparkedekselet og hører det hvert 5-10 sek kanskje når det kommer. Noen som vet om det er noen reléer der som styrer noe med startprosessen - eller er startmotoren fucked? Hører jo at den prøver værtfall.. Er nok av strøm på batteri. Har i tillegg prøvd med startkabler for å være sikker, men det hjalp ikke. mvh Kenneth 0 Del dette innlegget Lenke til innlegg Del på andre sider Flere delingsalternativer...
#2 Skrevet Juni 25, 2007 drar starteren motoren ordentlig rundt når du vrir om nøkkelen? 0 Del dette innlegget Lenke til innlegg Del på andre sider Flere delingsalternativer...
#3 Skrevet Juni 25, 2007 Den klikker bare vilt nesten som den ikke får til å dra noe rundt.. tyder det på gåen starter? 0 Del dette innlegget Lenke til innlegg Del på andre sider Flere delingsalternativer...
#4 Skrevet Juni 25, 2007 Du kan prøve å kortslutte innslaget med en skrutrekker....men høres ut som du har en litt sliten starter ja. 0 Del dette innlegget Lenke til innlegg Del på andre sider Flere delingsalternativer...
#5 Skrevet Juni 25, 2007 Min lager da sånne lyder når den er tom for strøm, ivertfall når klikkingen er kjapp, sjekket strømmen?? Høres likt ut problemet ditt med tikkende rele (tappet strøm) som en annen kar fra kristiansadstraktene hadde på en s4.. 0 Del dette innlegget Lenke til innlegg Del på andre sider Flere delingsalternativer...
#6 Skrevet Juni 25, 2007 Klikkingen er veldig kjapp ja. Har nok strøm til å drive sub og greier på full pupp Har også prøvd med startkabler fra annen bil for å være sikker, men hjalp ikke Kortslutte innslaget med en skrutrekker? Hva skjer da? Noen som har bilde fra familiealbumet? Tok selvsagt ikke min med på ferie 0 Del dette innlegget Lenke til innlegg Del på andre sider Flere delingsalternativer...
#7 Skrevet Juni 25, 2007 Klikkingen er veldig kjapp ja. Har nok strøm til å drive sub og greier på full pupp Har også prøvd med startkabler fra annen bil for å være sikker, men hjalp ikke Kortslutte innslaget med en skrutrekker? Hva skjer da? Noen som har bilde fra familiealbumet? Tok selvsagt ikke min med på ferie Da tvangskjører du starteren. Er innslaga som pleier å blir dårlige. Dette kan du eliminere ved tvangskjøring 0 Del dette innlegget Lenke til innlegg Del på andre sider Flere delingsalternativer...
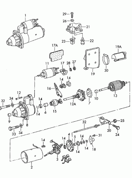
#8 Skrevet Juni 25, 2007 Noen som har bilde fra familiealbumet? av starteren? her 0 Del dette innlegget Lenke til innlegg Del på andre sider Flere delingsalternativer...
#9 Skrevet Juni 25, 2007 Hei igjen Har vært ute å kokelurt litt og prøvde å få start fra en annen bil. Transporteren jeg prøvde først hadde to batterier faktisk, så det jeg prøvde var kanskje ikke stort nok. Med annen bil gikk det på første forsøk. Har nok en strømtyv et sted, og jeg mistenker sentrallås/alarm. Har funnet ut at når jeg låser dørene med sentrallåsen noen ganger, så kommer det et klikkelyd ommentrent annethvert sekund fra sparkedekselet under dashen. Har hatt problemer med å programmere fjernbetjenten på bilen også, så lurer på om det er noe der som ikke er helt i henhold.. Skal vist være noen reléer der nede som styrer sentrallås tror jeg 0 Del dette innlegget Lenke til innlegg Del på andre sider Flere delingsalternativer...