#1 Skrevet Desember 6, 2018 Trenger hjelp til å vite hva jeg burde gjøre.. Det begynte med at jeg fikk en lekkasje fra flexikoblingene på eksosen, noen uker senere så begynner glødelampa å blinke under kjøring og bilen går i nødmodus. Glødelampa har kommet ofte noen uker og vært borte noen dager, virket nesten som at den kom sjeldnere hvis jeg fylte "Miles PLUS" istedenfor "vanlig diesel". Det blir en del korte turer så det kan jo være noe av grunnen. Jeg har også tatt en regenerering av DPF med Vag-com. Lekkasjen i eksosen er blitt større og nå begynte DPF lampa å lyse og. Hva gjør jeg? Kan lekkasjen ha noe med at lampene kommer? Er DPF filteret faktisk tett? Det jeg tenker nå er at jeg vil få bilen til et verksted som kan både fjerne DPF, bytte flexikoblingene og få kodet vekk DPF. Men vet ikke hvem som kan gjøre sånt i tilfelle. Bilen har også vært innom Audi Verksted hvor de bare hadde en forkontroll. De kunne se at det var feilkode på partikkelfilter feilfunksjon på begge sylinderrekkene. Denne kontrollen ble gjort før DPF lampa kom. Bilen skal også være chippet. Dette ble gjort for noen år siden, men ikke da jeg var eier av bilen. P2002 og P2003 "Efficiency Below Threshold" Er kodene som kom fra Glødelampa. Har ikke sjekket kodene etter DPF lampa kom. Håper det er noen som har noen tips eller om noen vet et bra sted å levere bilen 0 Del dette innlegget Lenke til innlegg Del på andre sider Flere delingsalternativer...
#2 Skrevet Desember 6, 2018 Første pri er at eksosanlegget ditt er tett, uten lekkasjer. Fyllingsgraden på DPF måles vha en differansetrykksensor som måler trykkforskjell i eksosanlegget. Hvis flexikoblingene kan skiftes utenom DPF ville jeg helt klart startet med dette, og sett hvordan bilen oppfører seg etter dette. 0 Del dette innlegget Lenke til innlegg Del på andre sider Flere delingsalternativer...
#3 Skrevet Desember 6, 2018 Anonymisert for gjester og medlemmer uten abonnement 3 timer siden, Øyvind Rasch-Olsen skrev: Første pri er at eksosanlegget ditt er tett, uten lekkasjer. Fyllingsgraden på DPF måles vha en differansetrykksensor som måler trykkforskjell i eksosanlegget. Hvis flexikoblingene kan skiftes utenom DPF ville jeg helt klart startet med dette, og sett hvordan bilen oppfører seg etter dette. Ja, vil jo selvfølgelig ha det tett. De skal ha 10k for jobben å bytte flexikoblingene.. Dette er fordi hele eksosen må ut. Jeg vil liksom ikke måtte ha ut eksosen to ganger da det koster 10k hver gang. Er derfor jeg lurer på om kanskje noen har erfaring med dette. F.eks at det mest sannsynlig kun er lekkasjen som gjør at jeg får feilkodene. 0 Del dette innlegget Lenke til innlegg Del på andre sider Flere delingsalternativer...
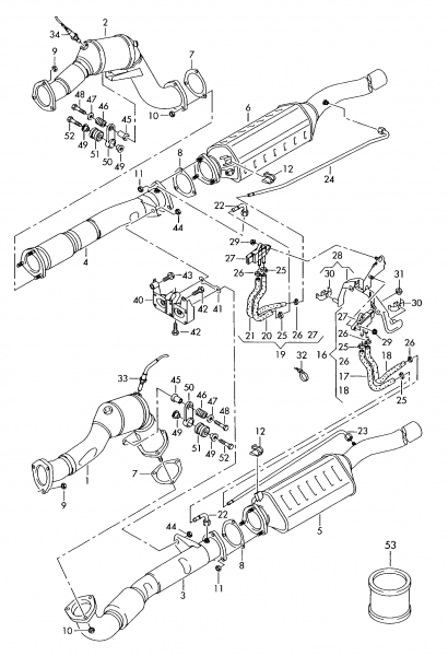
#4 Skrevet Desember 6, 2018 sku tro det var mulig å bytte flexkoblingene uten å måtte ned med heile eksosen? http://www.oemepc.com/audi/part_single/catalog/au/markt/RDW/modell/A8Q/year/2009/drive_standart/635/hg_ug/253/subcategory/253060/part_id/906642/lang/u#sec_4 0 Del dette innlegget Lenke til innlegg Del på andre sider Flere delingsalternativer...
#5 Skrevet Desember 6, 2018 (endret) Har bare hørt med Gromstad Auto her i Arendal. Hvis noen kan klare det uten å måtte ut med hele eksosen hadde det vært perfekt. Hvem i Norge er gode på eksos? 0 Del dette innlegget Lenke til innlegg Del på andre sider Flere delingsalternativer...
#6 Skrevet April 21, 2020 (endret) Ja, hva ble resultatet på denne saken da? Jeg har nettopp oppdaget en liten lekkasje på det ene fleksrøret på min 4.2TDI Er det forresten noen som har dimensjon på flexrørene lengde og diameter. (får ikke målt dem før om 12 dager og det hadde vært fint om nye lå i posten når jeg kom hjem..) 0 Del dette innlegget Lenke til innlegg Del på andre sider Flere delingsalternativer...